如果你密切关注智能手机领域的话,你一定听说过一加 3T 这款手机,这款 Android 手机配有一项最被低估的功能:Dash 快充。
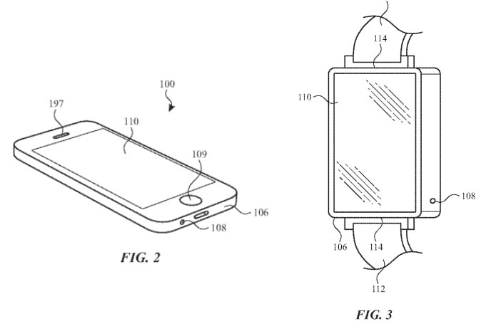
近期,美国专利商标局批准了苹果一项新解锁专利。根据专利描述,用户可以通过拍自拍照来解锁iPhone手机。
专利中写道,这项技术通过移动手机上的摄像头来拍摄用户脸部,然后对其作分析,如果图片跟手机主人的脸“匹配”,设备就会自动解锁。苹果在专利中提及,这项技术能够消除一些比较“耗时”的解锁步骤。

如果苹果能够在未来iPhone手机中采用这项技术,这也就意味着,我们可能就不再需要指纹解锁或者密码,直接来一张自拍照就可以。不过,如果系统无法识别出人脸,那设备就不会解锁。
目前,用户为了解锁手机,需要滑动解锁条,然后输入密码,这些步骤对用户来说还不够方便。
苹果这项脸部识别技术能够在设备进入“使用位置”时,使设备自动解锁,设备摄像机会匹配主人所拍摄的第一张自拍照,整个过程不需要输入密码。苹果指出,这项技术还能够用于识别其他授权用户,比如好友或者家庭成员。这也就意味着,在经过你的允许后,你的好友、家人可以通过人脸识别来解锁你的手机。
安卓手机目前也具备自动解锁功能,名为“智能锁”(Smart Lock),当设备识别出用户脸时,这项功能将可以解锁设备。不过,谷歌表示,人脸识别解锁的安全性不及密码。
社交网站Facebook已经使用人脸识别技术来识别上传至其网站上图片中的人,并使用用户主页图片作对比,也就是我们常说的“加标签”功能。
上月早些时候,阿里巴巴创始人马云展示了一种借助人脸识别技术的智能手机支付系统。
惠普也推出了一款内置网络设备头的计算机,不过,其人脸识别软件不容易识别黑皮肤用户。根据CNN报道,惠普自己也承认,人脸识别系统在特定光照下,无法获取足够多的光线做对比。
PS:说到这刷脸技术,非洲黑人兄弟大多不认为这有什么先进之处。